A comprehensive course on drafting using AUTOCAD. This course is highly suited for beginners
RELATED RECENT PLACEMENTS
Anupama Yeragudipati
Kabira Mobility
Gurunanak Khalsa College


Arun Kumar
Riverstone
Anna University

Paul Willington
DGS Technical Services Pvt. Ltd.
SAVEETHA SCHOOL OF ENGINEERING ,CHENNAI

IVIN TROY
Kabira Mobility
College of Engineering and Management,Punnapra

Karuthapandi K
DGS Technical Services Pvt. Ltd.
S. Veerasamy Chettiar college of engineering and technology

Gowsikraj M
Hyundai Motor India Ltd
Sri krishna college of technology


Mujahidoddin Saudagar
Hyundai Motor India Ltd
G.H Raisoni college of engineering and management Amravati


Krutika Ravikumar
Genpact
R.V.College of Engineering
This course is full of best-in-class content by leading faculty and industry experts in the form of videos and projects
On a daily basis we talk to companies in the likes of Tata Elxsi and Mahindra to fine tune our curriculum.
Week 01 - Course Introduction
Week 02 - Coordinate Systems & Editing Fundamentals
Week 03 - Navigation & Selection Techniques
Week 04 - Emend
Week 05 - Manufacturability
Week 06 - Quality Assurance
Week 07 - Collaborate effectively, Broadcast your work and Productivity Enhancements
Our courses have been designed by industry experts to help students achieve their dream careers
Our projects are designed by experts in the industry to reflect industry standards. By working through our projects, Learners will gain a practical understanding of what they will take on at a larger-scale in the industry. In total, there are 2 Projects that are available in this program.
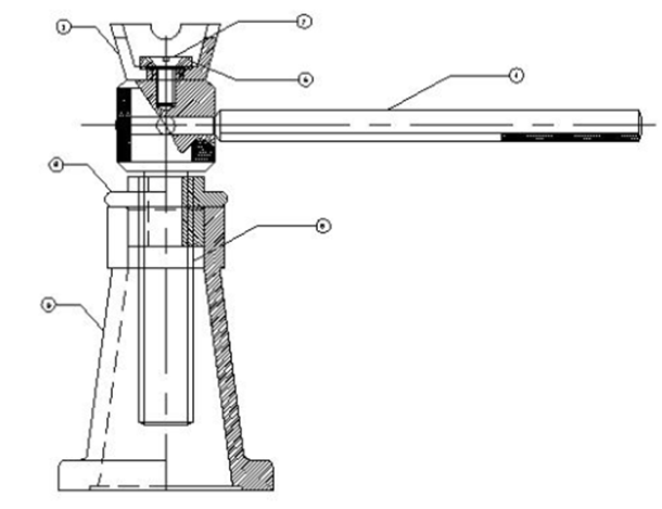
Draw the components of a Screw jack and Assemble it
Captsone Project - Venturi Sub Assembly Creation
Our courses have been designed by industry experts to help students achieve their dream careers
Skill-Lync has received honest feedback from our learners around the globe.

Talk to our career counsellors to get flexible payment options.
INR 40,000
Inclusive of all charges
Become job ready with our comprehensive industry focused curriculum for freshers & early career professionals
1 Year Accessto Skill-Lync’s Learning Management System (LMS)
Personalized Pageto showcase Projects & Certifications
Live Individual & Group Sessionsto resolve queries, Discuss Progress and Study Plans.
Personalized & Hands-OnSupport over Mail, Telephone for Query Resolution & Overall Learner Progress.
Job-Oriented Industry Relevant Curriculumavailable at your fingertips curated by Global Industry Experts along with Live Sessions.
Our courses are designed by leading academicians and experienced industry professionals.
1 industry expert
Our instructors are industry experts along with a passion to teach.
5 years in the experience range
Instructors with 5 years extensive industry experience.
Areas of expertise
Pune
Delhi
Mumbai
Hyderabad
Bangalore
Chennai
Please fill in your number & an expert from our team will call you shortly.